住建部曝光:中字头企业22项业绩造假!
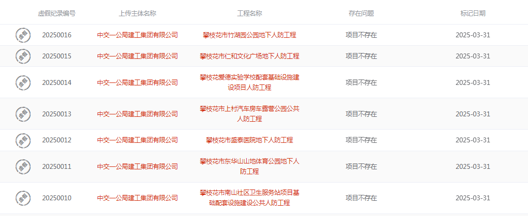
据全国四库一平台网站公示,虚假业绩出现中交一公局建工集团有限公司,其业绩造假条数多达22条,打开业绩项目信息发现,其施工、设计单位均为同一家单位,项目信息披露为不存在。上传主体单位为其企业。
从项目性质来看,项目大多数均为政府项目,项目数据等级为B级,可见企业能够上传如此多的项目信息,是得到市级住房和城乡建设主管部门审核确认的。如今被住建部公示查处,对企业的本身经营影响也是非常大。
2025年以来住建部官网通报多起资质因在升级过程中业绩弄虚作假被警告,及被撤销资质企业,多个特级及一级资质均被撤销。






